Development
Sprache

Allgemeines Projekt

Antennen-Auslegungswerkzeug für resonante und nicht-resonante Waveguide-Slot-Antennen

Keywords: Antennen, Wellenleiter

In der Natur treten immer wieder Lawinen und Erdrutsche auf. Oft sind dadurch bewohnte Gebiete oder Strassen bedroht. Solche Erdrutsche oder Lawinen können in der Regel nicht verhindert werden. Es besteht jedoch die Möglichkeit, bevorstehende Katastrophen frühzeitig zu durch interferometrische Radare zu erkennen. Das einsturzgefährdete Material bewegt sich im Normalfall sehr langsam, bevor es für die Bevölkerung gefährlich wird. Mit einem interferometrischen Radar können die umliegende Topografie laufend vermessen und kleinste Bewegungen erkannt werden. Um die benötigte Genauigkeit für die genannten Radaranwendungen zu erreichen, ist ein sehr schmaler Beam erforderlich. Mit Hilfe von Waveguide-Slot-Antennen kann dies kostengünstig erreicht werden. Jedoch ist die Auslegung solcher Antennen sehr aufwändig. Für eine konkrete Anwendung wird eine Antenne mit ungefähr 200 Slots, d.h. Einzelstrahlern benötigt. Ziel dieses Projektes war die Entwicklung eines Auslegungswerkzeugs in MATLAB für resonante und nicht-resonante Slot-Antennen, um effizient solche Antennen entwickeln und simulieren zu können.

Was sind Slot-Antennen?

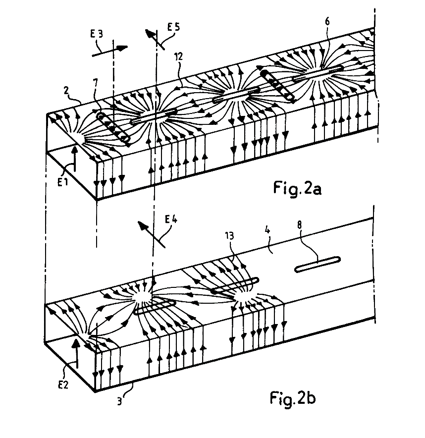
Wellenleiter-Schlitzantennen (slotted waveguide antennas) sind beliebte Antennen in Navigations-, Radar- und anderen Hochfrequenzsystemen. Sie sind einfach herzustellen, haben eine geringe Verlustleistung (hohe Antenneneffizienz) und strahlen eine lineare Polarisation mit geringer Kreuzpolarisation aus. Die Schlitze sind typischerweise dünn (weniger als 0.1 λ) und 0.5 λ lang. Wie bei der Schlitzantenne mit Hohlraumrückseite könnte jedem Schlitz unabhängig eine Spannungsquelle über den Schlitz zugeführt werden. Allerdings (besonders für grosse Arrays) wäre dies sehr schwierig zu konstruieren. Stattdessen wird der Wellenleiter als Übertragungsleitung zum Speisen der Elemente verwendet.

Die Position, Form und Ausrichtung der Schlitze bestimmen, wie (oder ob) sie strahlen. Darüber hinaus spielen die Form des Wellenleiters und die Betriebsfrequenz eine grosse Rolle.

Theorie der Slotted Waveguide Antennen

Die extrem schmale Abstrahlcharakteristik (typischerweise 1°) und damit die hohe Richtwirkung erreicht die Slotted Waveguide-Antenne durch die Überlagerung der Strahlungsfelder vieler Dipolantennen. Es handelt sich nicht um eine einzelne Antenne, sondern um einen ganzen Antennen-Array [5]. Jeder einzelne Schlitz im Rechteck-Hohleiter wirkt als Dipolantenne. Damit sich eine möglichst schmale Abstrahlcharakteristik ergibt, müssen sowohl die Phasen als auch die Leistungen der einzelnen Strahler genau aufeinander abgestimmt werden. Die optimale Auslegung einer solchen Antenne mit mehr als 200 Einzeldipolen ist sehr kompliziert. Die Theorie hierfür wurde in den 50er bis 70er Jahren von STEGEN [8], OLINER [6,7] und ELLIOT [1,2] entwickelt. Eine Waveguide-Slot-Antenne kann als Parallelschaltung von einzelnen Admittanzen modelliert werden, wobei jede Admittanz einem Slot entspricht. Die Admittanz Gj eines Slots ist eine Funktion der Länge, der Breite des sowie des lateralen Versatzes des Schlitzes im Wellenleiter. Ausserdem spielt die Wanddicke sowie die Lage und genaue Form des Schlitzes eine Rolle. Die Theorie wurde durch GABROWSKI [3,4] für nicht-resonante Slot-Antennen elegant weiterentwickelt und neu formuliert. Wenn Slots nahe beieinander sind, beeinflussen sich diese gegenseitig [1,2]. Diese gegenseitige Beeinflussung wird als elektromagnetische Kopplung bezeichnet und verhält sich bei Slots ähnlich wie bei Dipolantennen. Je grösser diese Impedanz ist, desto stärker koppeln sich die beiden Dipole bzw. Slots. Auch diese Kopplungsimpedanz muss bei der optimalen Auslegung berücksichtig werden.

Der NTB Antenna Designer©

Der NTB Antenna Designer© ist ein vollwertiges Tool zum Berechnen und Exportieren von resonanten Waveguide-Slot-Antennen. Das Tool wurde in MATLAB entwickelt und kann über ein GUI bedient werden. Das Tool berechnet die Positionen und Dimensionen der Schlitze, die in den Rechteckhohlleiter gefräst werden müssen. Zur Veranschaulichung wird die theoretische Abstrahlcharakteristik und eine Skizze der Antenne generiert. Aus den Resultaten kann ein Modell generiert werden, welches mit CST Microwave Studio verifiziert und optimiert werden kann. So ist eine unmittelbare Verifikation der Antenne möglich. Nach erfolgreicher Simulation kann das Antennendesign effizient der mechanischen Werkstatt weitergegeben werden, indem die Fertigungsdaten als Parameterliste in einem CAD-Tool wie z.B. Creo Parametric eingelesen werden. Die folgende Figur veranschaulicht den Workflow vom Design der Antenne bis zur mechanischen Fertigung.

Validierung

Um die entwickelte Software zu testen wurden diverse Antennen im Tool generiert und mit Simulationen aus CST Microwave Studio verglichen. Dabei konnten die Resultate für resonante Antennen reproduziert werden. In einem finalen Test wurde eine resonante Waveguide-Slot-Antenne für 24 GHz ausgelegt und gefertigt. Die Impedanzanpassung und die Abstrahlcharakteristik wurden gemessen und mit den Simulationsresultaten verglichen. Die Funktionalität des Programms konnte anhand von diesem praktischen Versuch für resonante Antennen bestätigt werden.

Referenzen:

[1]  ELLIOTT, Robert S.: The Design of Waveguide-Fed Slot Arrays. Version: Januar 1988. http://dx.doi.org/10.1007/978-1-4615-6459-1_12 . In: Antenna Handbook. Springer, Januar 1988. – DOI 10.1007/978–1–4615–6459–1_12. – ISBN 978–1–4615–6461–4

[2]  ELLIOTT, Robert S.: Antenna Theory & Design. 1. Wiley-IEEE Press, 2003, ISBN 9780471449966

[3]  GRABOWSKI, Michal: Problem of physical non-realizability of some equivalent currents amplitude distributions feeding slots in waveguide antennas. In: Microwave Journal, Technical Library (2010)

[4] GRABOWSKI, Michal: Non-Resonant Slotted Waveguide Antenna Design Method. In: High Frequency Electronics 11 (2012), Nr. 2, S. 32–46

[5]  HANSEN, Robert C.: Phased Array Antennas. JOHN WILEY & SONS INC, 2009, http://www.ebook.de/de/product/10045751/robert_c_hansen_phased_array_antennas.html . –
ISBN 0470401028

[6]  OLINER, A.: The impedance properties of narrow radiating slots in the broad face of rectangular waveguide: Part I–Theory. In: IRE Transactions on Antennas and Propagation 5 (1957), January, Nr. 1, S. 4–11. http://dx.doi.org/10.1109/TAP.1957.1144488. – DOI 10.1109/TAP.1957.1144488. – ISSN 0096–1973

[7]  OLINER, A.: The impedance properties of narrow radiating slots in the broad face of rectangular waveguide: Part II–Comparison with measurement. In: IRE Transactions on Antennas and Propagation 5 (1957), January, Nr. 1, S. 12–20. http://dx.doi.org/10.1109/TAP.1957.1144487. – DOI 10.1109/TAP.1957.1144487. – ISSN 0096–1973

[8]  STEGEN, Robert J.: Technical Memorandum No. 261, Longitudinal Shunt Slot Characteristics / Hughes Aircraft Company. 1951. – Forschungsbericht

Laufzeit: 03.01.2018